Copyright 2012 LiteBrake Tech. All Rights Reserved
|
Steel Clad Aluminum Brake
|

Pad Drag Reduction and Gas Mileage Increase
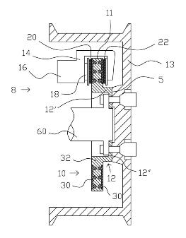
Referring to FIG 12, a brake assembly 8, includes a brake rotor 10, which includes a disc 11 and a
mounting hat 12, mounted on a vehicle wheel 13.
A floating caliper 14, defines a hydraulic cylinder 16 into which a piston 18 is set. An inboard brake pad 20
is mounted on piston 18, such that when piston 18 is pushed outwardly from cylinder 16, inboard brake
pad 20 contacts disc 11. This in turn causes caliper 14 to be pulled inwardly so that an outboard brake
pad 22, held by caliper 14 contacts disc 11.
In currently available brake assemblies, when braking is no longer applied, the inboard brake pad 20
retracts slightly by the return of piston rubber seal deflection, but the outboard brake pad 22 does not
necessarily retract adequately, and may continue to contact the rotor, causing a drag on movement and
reducing fuel efficiency. In our technology, however, the core of rotor 10 is made of aluminum that has a
high coefficient of thermal expansion and a high thermal conductivity, so that disc 11 expands during
braking. Heat is then quickly conducted away by hat 12 into wheel 13, so that disc 11 shrinks when braking
is no longer applied. As a result, outboard brake pad 22 is not positioned as far inward as it would be if not
for the disc 11 expansion, and when disc 11 contracts, it withdraws from contact of outboard brake pad 22,
thereby avoiding the problems caused by this contact. The other alternative in addressing the problem of
the outboard pad 22 not retracting sufficiently after braking would be to enlarge the spread of the caliper
14, thereby spreading the pads 20 and 22 apart. This, however, worsens the brake pedal response,
forcing the driver to press the brake pedal down farther before braking begins.
Two cars used for the long term road tests of the SCA rotors showed remarkable more miles for a full tank
of gas to drive as given in Table 1. We believe that both lighter weight and pad drag reduction contribute
to the gas mileage increase, but the second cause is the major reason.

FIG 12. SCA brake system
Lighter, Cooler, Better and Greener
|
The Only Available Aluminum Based Front Brake Rotors for Automobiles